Магазин запчастей для бытовой техники - Arlos
Москва
close
Выберите ваш регион
АбаканАлександровАльметьевскАнгарскАрзамасАрмавирАртемАрхангельскАстраханьАчинскБалаковоБалашихаБеларусьБелгородБердскБерезникиБийскБлаговещенскБратскБрянскВеликий НовгородВидноеВладивостокВладикавказВладимирВолгоградВолгодонскВолжскийВологдаВолховВоркутаВоронежВоскресенскВыборгГатчинаГеленджикГрозныйДедовскДербентДзержинскДзержинскийДимитровградДмитровДолгопрудныйДомодедовоДонецкЕвпаторияЕгорьевскЕкатеринбургЕлецЕссентукиЖелезногорскЖелезнодорожныйЖуковскийЗеленоградЗлатоустИвановоИвантеевкаИжевскИркутскИстраЙошкар-ОлаКазаньКалининградКалугаКаменск-УральскийКамышинКаспийскКемеровоКерчьКировКисловодскКлинКовровКоломнаКомсомольск-на-АмуреКопейскКоролёвКостромаКотельникиКрасногорскКраснодарКраснознаменскКрасноярскКурганКурскКызылЛенинск-КузнецкийЛипецкЛобняЛыткариноЛюберцыМагнитогорскМайкопМалаховкаМахачкалаМиассМоскваМурманскМуромМытищиНабережные ЧелныНазраньНальчикНаро-ФоминскНахабиноНаходкаНевинномысскНефтекамскНефтеюганскНижневартовскНижнекамскНижний НовгородНижний ТагилНовокузнецкНовокуйбышевскНовомосковскНовороссийскНовосибирскНовоуральскНовочебоксарскНовочеркасскНовошахтинскНовый УренгойНогинскНорильскНоябрьскОбнинскОдинцовоОктябрьскийОмскОрелОренбургОрехово-ЗуевоОрскПавловский ПосадПензаПервоуральскПермьПетрозаводскПетропавловск-КамчатскийПодольскПрокопьевскПсковПушкиноПятигорскРаменскоеРеутовРостов-на-ДонуРубцовскРыбинскРязаньСакиСалаватСамараСанкт-ПетербургСаранскСаратовСевастопольСеверодвинскСеверскСергиев ПосадСерпуховСимферопольСмоленскСосновый БорСочиСтавропольСтарый ОсколСтерлитамакСтупиноСургутСызраньСыктывкарТаганрогТамбовТверьТихвинТольяттиТомилиноТомскТроицкТулаТюменьУлан-УдэУльяновскУссурийскУсть-ИлимскУфаУхтаФеодосияФрязиноХабаровскХанты-МансийскХасавюртХимкиЧебоксарыЧелябинскЧереповецЧеркесскЧеховЧитаШахтыЩелковоЭлектростальЭлистаЭнгельсЮжно-СахалинскЯкутскЯлтаЯрославль
  • - бесплатно по РФ
    Автоперезвон. Работает по принципу: Вы позвонили на номер, мы сбрасываем звонок и перезваниваем через 3 секунды.
  • - по Москве
  • 8 (925) 663-83-63

Call-центр

пн-вс: 10:00-19:00

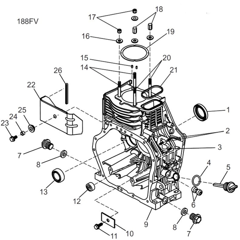
ЗАПЧАСТИ ДЛЯ ДВИГАТЕЛЯ ДИЗЕЛЬНОГО HL188FVG3E (КАРТЕР)

NАртикулНазваниеСрок отгрузкиЦенаКупить
1 0102.100010 Манжета 35х50х8 , 9877.1-355008 , ДЭС5500ЕМ 86 р.
2 0102.100020 Шпилька M6х24 мм
3 0102.100030 Шпилька M6х18 мм
4 0102.100040 Прокладка 19х2.65 , 3452.1-190265 , ДЭС4000ЕМ 23 р.
5 0102.100050 Щуп масляный, L83, D21.1. оранжевый. 178F-01002. ДЭС 4000.5500.8000ЕМ.ЕМК.ЕТ 107 р.
6 0102.100060 Подшипник игольчатый 8x14x10 мм
7 0102.100070 Пробка сливная M16х1,5
8 0102.100080 Кольцо уплотнительное
9 0102.100120 Блок цилиндра (картер) 188FV-01001 ДЭС8000 12.722 р.
10 0102.100140 Фиксатор
11 0102.002200 Болт M8х14 мм
12 0102.100160 Подшипник игольчатый 15x21x20 мм
13 0102.100190 Подшипник шариковый 6304-Р6
14 0102.100220 Шпилька головки блока (короткая) , 188FV-01003 , ДЭС8000ЕМ 187 р.
15 0102.100230 Штифт 4х8 , 119.1-04008, ДЭС4000ЕМ 9 р.
16 0102.100250 Шайба плоская
17 0102.100270 Гайка головки цилиндра (короткая)
18 0102.100300 Гайка головки цилиндра (длинная)
19 0102.100330 Прокладка головки блока , 188FV-01013 , ДЭС8000ЕМ 166 р.
20 0102.100360 Шпилька головки блока (длинная) , 188FV-01006 , ДЭС8000ЕМ 205 р.
21 0102.100380 Прокладка прямоугольная , 186F-01008 , ДЭС5500ЕМ 91 р.
22 0102.100410 Щиток воздушный
23 0102.100420 Болт M6х20 мм
24 0102.100430 Втулка
25 0102.100440 Втулка (резиновая)
26 0102.100450 Уплотнитель (резиновый)
Найдено товаров: 26
1
▲ Наверх
0
8 (925) 663-83-63

Call-центр

пн-вс: 10:00-19:00

НАЙТИ ПО МОДЕЛИ
Введите номер заказа
Введите номер своего заказа, что бы узнать его текущий статус.
Что бы получить доступ к расширенным функциям, пройдите не сложную регистрацию. Зарегистрироваться