8 (925) 663-83-63Call-центр
пн-вс: 10:00-19:00
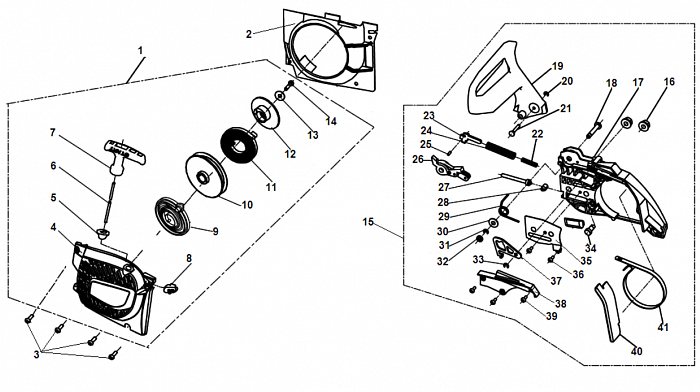
| N | Артикул | Название | Срок отгрузки | Цена | Купить |
| 1 | 3002000313 | Стартер в сборе | 5-7 рабочих дней | 1.019 р. | |
| 2 | 3001014106 | Кожух крыльчатки маховика | 5-7 рабочих дней | 126 р. | |
| 3 | 5010040514 | Винт крепления стартера | 5-7 рабочих дней | – | |
| 4 | 3001013317 | Крышка стартера | 5-7 рабочих дней | 344 р. | |
| 5 | 4504001101 | Направляющая шнура стартера | 5-7 рабочих дней | 30 р. | |
| 6 | 5310038-76 (1) | Шнур стартера | 5-7 рабочих дней | – | |
| 7 | 1700003 | Ручка стартера | 5-7 рабочих дней | 60 р. | |
| 8 | 4018002115 | Направляющая винтов | 5-7 рабочих дней | – | |
| 9 | 4012001201 | Пружина стартера возвратная | 5-7 рабочих дней | 192 р. | |
| 10 | 4012015105 | Барабан стартера | 5-7 рабочих дней | 126 р. | |
| 11 | 4012002103 | Пружина храповика стартера | 5-7 рабочих дней | 132 р. | |
| 12 | 4012010102 | Храповик стартера | 5-7 рабочих дней | 93 р. | |
| 13 | 5050010516 | Шайба храповика стартера | 5-7 рабочих дней | 18 р. | |
| 14 | 5010130514 | Винт крепления храповика | 5-7 рабочих дней | 30 р. | |
| 15 | 3002000205 | Крышка шины в сборе | 5-7 рабочих дней | 1.789 р. | |
| 16 | 1400007 | Гайка крышки шины М8 | 5-7 рабочих дней | 37 р. | |
| 17 | 3001011307 | Крышка шины | 5-7 рабочих дней | 476 р. | |
| 18 | 4011005101 | Болт крепления ручки тормоза | 5-7 рабочих дней | – | |
| 19 | 3001036103 | Ручка тормоза | 5-7 рабочих дней | 344 р. | |
| 20 | 5070030300 | Шайба стопорная | 5-7 рабочих дней | – | |
| 21 | 4011005103 | Штифт ручки тормоза | 5-7 рабочих дней | – | |
| 22 | 4011002101 | Пружина ленты тормоза внутренняя | 5-7 рабочих дней | 20 р. | |
| 23 | 4011004108 | Тяга ленты тормоза | 5-7 рабочих дней | 22 р. | |
| 24 | 4011001102 | Пружина ленты тормоза основная | 5-7 рабочих дней | 46 р. | |
| 25 | 4011014105 | Штифт тяги | 5-7 рабочих дней | – | |
| 26 | 4011004201 | Рычаг ленты тормоза | 5-7 рабочих дней | 51 р. | |
| 27 | 4015002102 | Болт натяжения цепи | 5-7 рабочих дней | 60 р. | |
| 28 | 4015004102 | Палец натяжения цепи | 5-7 рабочих дней | 43 р. | |
| 29 | 4011006101 | Пружина ручки тормоза | 5-7 рабочих дней | 35 р. | |
| 30 | 5050010618 | Шайба пружины | 5-7 рабочих дней | – | |
| 31 | 5070030400 | Шайба стопорная | 5-7 рабочих дней | – | |
| 32 | 4011008101 | Шайба | 5-7 рабочих дней | – | |
| 33 | 5070030301 | Шайба стопорная | 5-7 рабочих дней | – | |
| 34 | 4015001102 | Шестерня натяжения цепи | 5-7 рабочих дней | 103 р. | |
| 35 | 040606002 | Боковой лист на крышку шины | 5-7 рабочих дней | 34 р. | |
| 36 | 5010024206 | Винт крепления бокового листа | 5-7 рабочих дней | – | |
| 37 | 4011009101 | Стопорная пластина ручки тормоза | 5-7 рабочих дней | 44 р. | |
| 38 | 3001015102 | Крышка тормозного механизма | 5-7 рабочих дней | 60 р. | |
| 39 | 5010024209 | Винт крепления крышки | 5-7 рабочих дней | – | |
| 40 | 4014014101 | Накладка крышки шины | 5-7 рабочих дней | 66 р. | |
| 41 | YD520016-23111 | Лента тормоза | 5-7 рабочих дней | 154 р. |
| Найдено товаров: 41 |
|
8 (925) 663-83-63 Call-центр
пн-вс: 10:00-19:00
| Введите номер заказа |
| Введите номер своего заказа, что бы узнать его текущий статус. Что бы получить доступ к расширенным функциям, пройдите не сложную регистрацию. Зарегистрироваться |